Двухгребневая широкополосная рупорная антенна BBHA 9120 B фирмы Schwarzbeck предназначена для испытаний на ЭМС в диапазоне частот 1,5 до 10 ГГц. Коэффициент усиления увеличивается с ростом частоты, что позволяет компенсировать затухание в коаксиальном кабеле. Серия BBHA9120 работает как на прием, так и на передачу.
Технические характеристики:
номинальный диапазон частот от 1,5 до 10 ГГц;
рабочий диапазон частот от 1 до 10,5 ГГц;
коэффициент усиления 5...18 дБ;
линейная поляризация;
КСВН <1,5 (тип.), < 2,5 (тип.) (f > 1,5 ГГц);
непрерывная мощность 300 Вт;
соединительный разъем N-тип;
входное сопротивление 50 Ом;
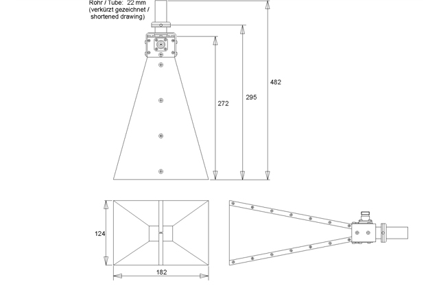
габариты 272×182×124 мм;
вес 1,2 кг.
Функциональные особенности:
низкий КСВН;
широкий диапазон частот;
прочная конструкция;
Запросить в один клик
Заказать звонок
Запрос оборудования на тестирование
?>
Сайт использует файлы cookie, обрабатываемые вашим браузером. Подробнее об этом вы можете узнать в Политике cookie.