Широкополосный генератор Е-поля ATE10K100M фирмы Amplifier Research предназначен для испытаний на ЭМС в диапазоне частот от 10 кГц до 100 МГц. Высокая входная мощность позволяет создавать поле напряженностью более 350 В/м. Генератор компактен, его легко поддерживать и позиционировать с помощью штатива. Поставляется с двумя наборами (меньшим — А, большим — B) взаимозаменяемых элементов с быстроразъемным креплением.
Технические характеристики:
диапазон частот от 10 кГц до 100 МГц;
линейная поляризация;
напряженность А-тип 350 В/м, В-тип 200 В/м;
КСВН 1,4 (тип.), 2,5 (макс.);
соединительный разъем N -тип;
выходная мощность 500 Вт;
входное сопротивление 50 Ом;
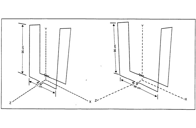
габариты А-тип: 1020×740×410 мм
В-тип: 1020×1040×410 мм
вес 13 кг.
Функциональные особенности:
низкий КСВН;
широкий диапазон частот;
прочная конструкция;
высокое значение напряженности поля.
Запросить в один клик
Заказать звонок
Запрос оборудования на тестирование
?>
Сайт использует файлы cookie, обрабатываемые вашим браузером. Подробнее об этом вы можете узнать в Политике cookie.